키성장 영양제, 다이어트, 뼈·관절 건강 기능성 품 과대 광고 주의

키성장 영양제,다이어트, 뼈·관절 건강 과대광고.
예전에 포스팅 했던 '키성장영양제'관련 식품과 같은 기능성 식품들을 이번에 식약처에서 점검을 했는데 소비를 기만 또는 허위광고로 인해 적발됐다.
지방자치단체와 함께 온라인 판매 사이트 522개 대상으로 점검을 했고 마치 건강기능 식품 처럼 판매를 하거나 과장된 광고가 많았다.
적발 된 건 수는 총 274건으로 많은 수의 제품들이 이번 조사에 걸렸다.
즉. 그 효능과 효과가 확실하지 않고 기능성과 관련없는 제품을 기능성이 있는 것 처럼 속이는 경우가 발생하고 있다는 소리다.
274건이나 발생한 만큼 주의해야할 부분은 어떤게 있고 적발 원인과 대처 방안에 대해 알아보자.
키성장영양제/체지방/면역력증진 등 적발된 원인은 ?
결론부터 말하면 일반식품을 '건강기능식품'처럼 둔갑시켜 판매하거나 기능성식품은 맞지만, 효과를 과대광고 하면서 적발이 됐다.
그럼, 여기서 '건강기능식품'에 대해 알아야하는데 건강기능식품은 '원료'자체의 기능성을 식약처로 부터 인증을 받아야한다.
이를 기능성원료라고 하는데 제품성분에 따라 키성장, 체지방감소, 면역력증진 등으로 나뉜다.



참고 : 식약처 건강기능식품 기능별 정보
총 33개의 기능성으로 나뉘고 있고 어린이 키성장의 경우 기능성원료가 'ht042'가 있다.
즉. 제품에 '어린이 키성장' 기능성제품이라고 쓰기 위해선 ht042가 포함되어 있어야하는데 만약 해당 성분이 포함되지 않았는데 키성장이라고 광고를 하면 이는 허위 광고가 된다.
이처럼 건강기능식품들은 다이어트, 뼈·관절 건강, 키성장영양제 등 제품 라벨에 그 기능성이 표기가 되어 있다
OO 기능성이라고 표기를 하기 위해선 특정한 원료를 일정비율 사용해야하는 등 조건이 존재하는데, 이들 업체는 이러한 조건을 지키지 않아 적발이 된 것이다.


이번 점검을 통해 실제로 적발된 사례다.
사진을 보면 '키성장 영양제'라고 되어있는 걸 볼 수 있다.
그런데 '키성장'이라고 표기를 하기 위해선 기능성 원료가 포함되어야하는데 해당 제품은 기능성원료가 포함되지 않은 허위 광고다.
참고로 국내의 경우 HT042라는 원료가 '키성장 기능성'식품으로 인정을 받고 있으며 해당 원료가 포함되어야 '키성장'이라는 문구를 붙일 수 있다.
상세내용 : 키성장(HT042)영양제 효과와 부작용은?(종근당 아이커 가격과 성분)


다음 적발 사례로 '면역체계 건강에 도움'라는 부분이 문제가 됐다.
이 역시 건강기능식품 원료를 사용해야 표기가 가능한데 해당 제품에는 기능성 원료가 포함 되지 않았다.


이 제품은 영양제를 마치 '치료제'인것처럼 광고를 해서 적발된 사례다.
'식품'과 '치료제' 간의 차이가 얼마나 있을까 생각이 들텐데, 그 차이는 어마어마 하다.
치료제로 인정 받기 위해선 각종 임상시험부터 효능을 인정 받아야하기 때문에 식품과는 차이가 크다.


마지막 사례로 모든 내용들이 전혀 검증되지 않는 내용들로 가득 찼다.
- 체중감량 언급
- 노화방지, 성장발달, 성장호르몬 분비 촉진 등등...
건강기능식품을 제대로 구매 또는 피해를 막을려면?
제일 쉬운 방법은 유명한 브랜드 제품을 구매하면 된다.
보통 이러한 제품들은 영세하거나 '수입'하는 제품들이 많기때문에 누구나 알만한 브랜드 제품이라면 그냥 구매해도 무방하다.
그 다음으로 쉬운 방법은 제품 라벨에 '건강기능식품'이라고 표기가 되어 있는지 확인 하면 된다.
해당 표기가 되어있다는 뜻은 실제로 건강기능성 원료가 제품에 포함되어 있다는 걸 뜻하기 때문에 안심하고 구매를 해도 된다.



사진에서 네모 처럼 '건강기능식품마크'가 포함되어 있다면 인증받은 제품이라고 보면 된다.
드물긴하지만, 건강기능식품마크를 도용하는 경우도 있다고 하니 많이 팔리지 않은(?) 이름없는 제품들은 다시한번 체크를 해보는게 좋다.
또, 주의할 부분으로 '기능성'을 다르게 착각하게 만드는 경우가 있다.
예를들어 '아이의 키성장'과 관련 되어 효과가 있는것 처럼 설명을하고 건강기능식품 마크도 있는데, 정작 원료는 '키성장'에 관련된 원료가 아닌 다른 원료를 포함시키는 경우가 있을 수 있다.
제품이 꺼림칙하다면 식약처 홈페이지를 통해 해당 제품을 검색하면 된다.
참고 : 식약처 건강기능 식품 검색
키성장, 과대 광고 제품은?
과대광고 키성장 제품을 찾기 위해 블로그를 검색하는 사람들이 있는데, 적발된 274건의 제품들은 제대로 공개된 사항은 없다.
그래서 정확하게 어떤 제품이 과대광고를 했는지 알 수 없다.
대신, 반대로 어떤 제품들이 '키성장' 기능성 제품인지는 찾아볼 수 가 있다.
포스팅에 언급했던 대로 'HT042' 원료가 포함된 제품들인데 이러한 건강기능식품은 식약처에서 관리를 하고 있어 어떤 제품이 승인을 받았는지 알 수 있다.


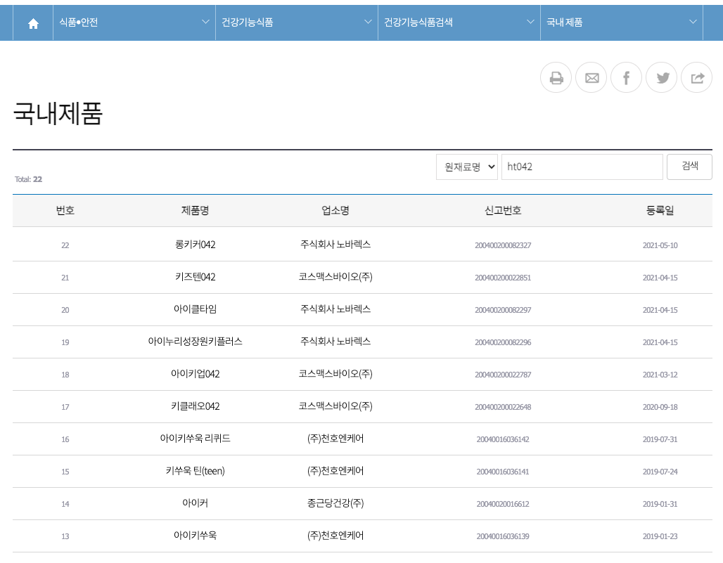
식약처의 식품안전나라홈페이지에서 '원재료명'을 검색하면 사진처럼 그 목록이 나온다.
식품/안전->건강기능식품->건강기능식품건색->국내제품
여기서 원재료명을 어떻게 찾는지 궁금할텐데, 이 부분 또한 식품안전나라 홈페이지에서 알 수 있다.
우측사진이 '체지방감소'에 대한 기능성원료에 대한 정보로 키성장 제품과는 달리 수많은 건강기능성원료가 존재한다.
특정제품에 대한 검색을 하고 싶다면 '원재료명'이 아닌 '제품명'으로 검색을 하면 된다.
정리하면
- 기능병정보 확인 : 기능성원료 확인
- 건강기능식품 검색 : 기능성원료 또는 특정 제품명 입력
| 식약처 승인받은 제품내역 | |
| 키성장제품 | 롱키커042,키즈텐042,아이클타임,아이누리성장원키플러스,아이키업042,키클래오042,아이키쑤욱 리퀴드,키쑤욱 틴(teen),아이커,아이키쑤욱,나클래,롱키원,야무진홍삼키즈,아이클타임,아이누리성장원키플러스,키&지,한고락(韓高樂),키성장솔루션업젤리,키즈시크릿 에이치 (KEY'S SECRET H),키성장솔루션업,키성장솔루션업에스,황기추출물 등 복합물(HT042) |
2021-05-31 기준 총 23개 제품이 승인받았다.
위의 제품들 외에 상품명이 다르다면 의심을 해볼 법 하다.
참고로, 아이 키성장관련 포스팅에서도 이야기했듯 키성장 원료는 'ht042'라는 성분이기 때문에 이들 업체의 제품중에서 해당 원료가 많이 들어간 제품이 좋다고 볼 수 있다.
그래서 사실 굳이 비싼 제품을 구매할 필요는 없고 ht042원료에 집중해서 찾아보는게 좋다.
ht042라는 원료외에 다른 재료들은 '아이 키성장'전혀 관계가 없는 원료라 '키'가 중요하다면 'ht042'의 함량만 보면 된다.
이부분은 시간이 된다면, 추가로 포스팅할 예정.
싼게 비지떡이라는 말처럼 특정 제품이 다른 제품에 비해 저렴하다면 한번 의심해 볼 필요가 있다.
특히 다이어트와 아이키성장에 관련하여 판매하는 제품들은 더더욱 주의를 해야한다.
기존에 포스팅을 작성하면서 알아봤지만 허위/과대광고가 정말 많은 제품들 중 하나라 주의깊게 살펴야한다.
기능성식품들의 경우 건강기능식품 라벨이 있는 살펴보면 되고 그래도 꺼림칙하다면 식약처 홈페이지를 통해 정확하게 알 수 있다.
무심코 지나가는 제품에 쓰여진 글자와 라벨이 이런 피해를 어느정도 방지해 줄 수 있으니 이번기회에 다른건 모르더라도, 건강기능 식품 라벨 정도는 기억하자.
해당 라벨이 없는 제품들은 아무리 포장을 한들 '건강기능식품'이 아니라 그냥 '일반 식품'이 된다.
그리고 해당 인증은 아무 원료나 허용해 주는것도 아니고 어느정도 효과를 증빙해야 인증을 받기 때문에 보다 안심하고 구매할 수 있다.
도움이 됐다면 아래하트 꾹.
관련 글 / 참조 링크
- 키성장(HT042)영양제 효과와 부작용은?(종근당 아이커 가격과 성분)
- 식약처 건강기능 식품 검색
-
'일상 생활 정보 > 생활정보' 카테고리의 다른 글
| 얀센백신 부작용과 혈전증 그리고 효과가 꼴찌라고?숨겨진 사실. (0) | 2021.06.01 |
|---|---|
| 코로나 백신 접종 예약 방법:얀센백신 접종 (0) | 2021.06.01 |
| 제로 콜라의 진실, 당뇨와 아스파탐 효능과 부작용은? (0) | 2021.05.31 |
| 노쇼백신(잔여백신) 예약 신청, 꿀팁 : 네이버, 카카오 이용 (0) | 2021.05.27 |
| 에이스/시몬스/썰타침대의 민낯:한 가족, 개인 직구 매트리스 거부 폐기 (2) | 2021.05.12 |
| 화장품 알레르기 유발 물질과 증상:라텍스/염색약/향수/방부제/금속 (0) | 2021.04.30 |
| 알리익스프레스 배송조회:배송절차, 통관확인 (5) | 2021.04.26 |
| 안전속도 5030과 무인단속카메라 속도 기준:잘못하면 과태료/벌점폭탄. (0) | 2021.04.22 |




댓글